BMW đang nghiên cứu hệ thống Blow Aero để có hiệu suất vào cua tốt hơn
Chào anh em đam mê tốc độ và công nghệ xe cộ! Dạo này có ai theo dõi mấy động thái mới nhất của BMW trong mảng xe hai bánh không? Mình mới đọc được thông tin cực kỳ thú vị liên quan đến những phát minh mới về khí động học cho xe máy hiệu suất cao và lần này, BMW chơi lớn thật sự!
Trong vài tháng gần đây, BMW đã liên tục nộp đơn xin cấp bằng sáng chế cho những ý tưởng cực kỳ táo bạo, từ cánh nhỏ có thể tự điều chỉnh theo tốc độ, cho tới cả ống xả được thiết kế để điều hướng luồng khí giúp xe ổn định hơn khi vào cua. Nhưng đáng nói nhất là phát minh mới nhất đó là dùng quạt gió để điều chỉnh khí động học theo thời gian thực. Nghe là thấy “viễn tưởng” rồi đúng không anh em?


Thực ra, ý tưởng dùng quạt để hỗ trợ lực ép xuống xe không phải mới tinh đâu. Huyền thoại Jim Hall từng đưa vào chiếc Chaparral 2J từ tận năm 1970 rồi, dùng quạt hút không khí từ gầm xe để tạo lực hút dính xe xuống mặt đường kiểu như xe có “máy hút bụi” siêu to khổng lồ vậy. Sau này Gordon Murray cũng áp dụng lại trong F1 với chiếc Brabham BT46B nổi tiếng.

Và gần đây nhất là siêu phẩm McMurtry Spéirling, một chiếc xe điện siêu nhẹ, dùng quạt tạo lực ép tới 1.995kg, đủ để lật ngược xe mà nó vẫn bám chặt như keo dính sàn!

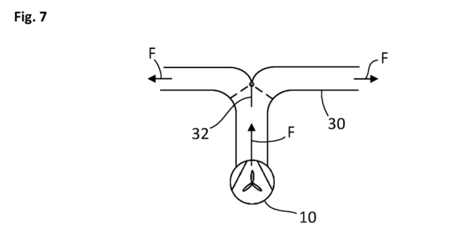
BMW thì không đi quá xa đến mức đó, nhưng họ có ý tưởng rất hay ho cho xe máy. Thay vì tạo ra lực hút khủng khiếp, BMW muốn dùng quạt nhỏ bên trong xe để dẫn luồng khí có áp suất cao đến các vị trí khác nhau giống như hệ thống phun tia nước vậy.
Ví dụ, phun ra phía sau để giúp tăng tốc, phía trước để hỗ trợ phanh, lên trên để tăng lực ép xuống, hoặc sang bên để giúp xe nghiêng vào cua dễ hơn. Một kiểu “trợ lực khí động học” cực kỳ thông minh và linh hoạt!

Cái hay là hệ thống này có thể hoạt động liên tục và chính xác mà không phải thay thế sau mỗi lần dùng, như hệ thống của Bosch từng thử nghiệm năm 2018 (dùng kiểu giống túi khí, nổ một lần rồi thôi). Nhờ đó, BMW có thể tăng độ ổn định và hiệu suất tổng thể của xe mà không ảnh hưởng đến trải nghiệm người lái.
Nghe đồn là trong sự kiện Villa d’Este concours vào ngày 24/5, BMW sẽ giới thiệu một mẫu xe thể thao gần như hoàn thiện có tích hợp công nghệ này. Ai đang chờ bản nâng cấp tiếp theo của S1000RR hay M1000RR thì chắc chắn không nên bỏ qua. Biết đâu đó, trong vài năm tới, chúng ta sẽ có những chiếc sportbike với “siêu năng lực” khí động học ngay từ nhà máy!
Anh em nghĩ sao? Công nghệ kiểu này liệu có phải là tương lai cho xe mô tô hiệu suất cao? Hay vẫn thích kiểu đơn giản, thuần cơ khí hơn? Cùng chia sẻ nhé!
Nguồn: 2banh.vn